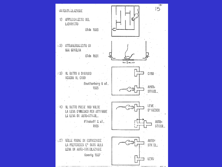
Basi biologiche della motivazione.

 

Studi su mesencefalo e ipotalamo: